新疆天威建达线路器材制造有限公司欢迎您! 客服热线:0991-4836140
作者:超级管理员 来源:本站 发布时间:2024-04-22 12:58:39 浏览量:919
..................................................
顾名思义,
防坠落装置就是一种防止登塔人员高空坠落的装置。
它保护的对象是杆塔建成后的登塔运检人员。
..................................................

..................................................
..................................................
为保障高空作业人员人身安全,
近年电网公司对防坠落设备的配置均提出了明确要求:
..................................................
国网要求:
钢管杆塔、30 米及以上杆塔(全高)和
220 千伏及以上线路杆塔
应设置作业人员上下塔和水平移动
的防坠安全保护装置。
..................................................
南网要求:
钢管杆、钢管组合塔及全高超60米的角钢塔应安装防坠落装置。
..................................................
..................................................
..................................................
传统登塔人员防坠落多采用
“脚钉(绳套/挂钩)安全绳”方式。
..................................................

▲ 绳套类
..................................................

▲ 金属挂钩类
人员登塔时,
将脚钉安全绳的2 个绳套交替挂在脚钉上,
另一端安全扣与安全带连接,
利用输电杆塔脚钉作为防坠挂点,
起到防坠作用。

传统防坠落方式主要依靠脚钉,
没有额外投入,
但是主要存在如下问题:
1、从挂点结构上看,
输电杆塔脚钉尾端为开口设计,
使用中极有可能出现绳套从脚钉脱出的情况。

普通脚钉存在安全绳及挂钩脱落风险,圆环脚钉可以避免脱落风险,提升登塔作业安全,
2、输电杆塔上脚钉多为M16 或M20 镀锌螺栓制成,
受坠落冲击可能发生严重形问或断裂,
是否满足挂点动态受力性能要求尚待验证。
3、在使用过程中因需反复进行解锁及拆装,
登塔作业人员体力消耗大、容易疲倦。
导致部分人员产生侥幸心理而放松防坠措施。
因为传统登塔防坠方式存在上述安全隐患,
因此电网公司均加强了防坠落装置的配置和应用。

▲ 防坠落装置
防坠落装置的主要材料是 —— 导轨
导轨设施主要用于:
高处作业人员垂直及水平位移时的定位和支撑,
保证作业人员在一定范围内可以安全自由地移动。
根据导轨不同防坠落装置可分为:
刚性导轨防坠落装置和柔型导轨防坠落装置。
两者主要区别在于导轨的形式不同,
钢性导轨为铝合金或镀锌钢导轨,
而柔性导轨主要是钢绞线。

▲ 刚性导轨防坠落装置


▲ 刚性导轨防坠落装置

▲ 刚性导轨防坠落装置组成

▲ 铝合金导轨

▲ 铝合金导轨

▲ T型钢轨

▲ 柔性导轨防坠落装置

▲ 柔性导轨防坠落装置组成

▲ 304不锈钢钢绞线
刚性导轨适用范围更广,
不受地域和气候影响,
能适用于全部塔型。
但是价格更高:

刚性防坠落装置:200元/米
柔性防坠落装置:60元/米
柔性防坠落装置
不适用于导轨倾斜角度与垂直方向超过15° 的杆塔。
位于大风、强腐蚀、微气象环境区域内的杆塔,
不建议使用。
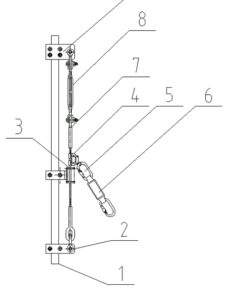
下面咱们重点介绍刚性防坠落装置组成:
防坠落装置(刚性)是由:
刚性导轨(包括固定金具、连接金具)+转向器+防坠器
构成。

▲ 刚性导轨防坠落装置组成
一、刚性导轨(包括固定金具、连接金具)
1、导轨如上文所述。
2、固定金具指导轨与铁塔的连接:
根据铁塔连接位置的不同可分为:
脚钉固定金具、
连杆固定金具、
抱箍固定金具。

▲ 脚钉固定金具

▲ 脚钉固定金具加工图

▲ 脚钉固定金具

▲ 连杆固定金具

▲ 连杆固定金具

▲ 抱箍固定金具

▲ 抱箍固定金具
二、转向器
当工作人员顺着导轨攀爬到横担处时,
可能继续向上或者向横担方向前进,
此时就需要一个装置切换导轨选择,
类似于火车切换轨道。
转向器:改变自锁器在导轨运动方向的部件,
用于连接垂直与水平刚性导轨。
一般用于横担与主材的连接处。
转向过程中自锁器不得脱离导轨,
转向应灵活、方便。



三、防坠器(自锁器)
其防坠工作原理:
自锁器内部有一个可伸缩的卡扣,
当使用者在爬梯上上下移动正常作业时,
自锁器内的卡扣缩入在内使其能在导轨中滑行自如;
当使用者不慎发生坠落时,
自锁器内的卡扣能快速伸出扣住轨道面,
由于重力利用卡扣和导轨面的摩擦迅速锁止以起到防坠落保护。


防坠落装置材料主要包括:
导轨+转向器+防坠器
★ 导轨长度主要根据 呼高+横担长度(塔头)
★ 转向器和塔头形状有关,
有大的转向就需要配置转向器。
★ 防坠器由登塔人员携带,
一般多基铁塔配置1个转向器即可。
例如下列几种塔型可参考下图配置:

▲ 干字型塔
 
▲ 猫头塔

▲ 多回路塔